Rivets & Clinching Fasteners

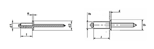
BLIND RIVETS - FLAT HEAD & COUNTERSUNK HEAD

These rivets are typically used for applications where soft or brittle materials must be joined to a rigid backing material. Countersunk rivets should be specified whenever a flush surface is required. A blind rivet consists of two parts: the rivet body and, within it, the setting mandrel (left).

Size Range: D2.4 ~ D6.4
STD: DIN 7337 A & DIN 7337 B
Material: Steel, Stainless Steel & Aluminium

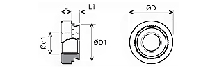
RIVET NUTS

Rivet nuts are used in many applications in many industries. The fasteners are used in such disparate products as refrigerators, playground equipment, office furniture and bicycles. In the automotive industry, they are used to attach components to dashboards and firewalls.

Size Range: : M3 ~ M10
STD: As per required grip range
Material: Steel & Stainless Steel

CLINCH NUTS & STUDS

self-clinching is a type of nut or threaded insert that is used on sheet metal. It permanently anchors itself to the sheet metal by swaging the surrounding material

Size Range: M3 ~ M10
STD: As per sheet thickness
Material: Steel & Stainless Steel

Copyright @2020 rithul.com.